立即注册找回密码

QQ登录

只需一步,快速开始

微信登录

微信扫一扫,快速登录

搜索
小桔灯网 门户 资讯中心 注册标准 查看内容

卫健委印发《宫颈癌筛查工作方案》,可使用高危HPV作为初筛方法!

2022-1-18 22:31| 编辑: Longcj525| 查看: 17119| 评论: 0|来源: 国家卫健委

摘要: 1月18日,国家卫健委印发《宫颈癌筛查工作方案》,明确提出:可使用高危型HPV检测方法作为初筛方案之一,HPV 检测所采用的技术平台及其产品至少要包含世界卫生组织明确确认的 14 种高危型别,包括:HPV16、18、 31、 ...


1月18日,国家卫健委印发《宫颈癌筛查工作方案》,明确提出:可使用高危型 HPV 检测方法作为初筛方案之一,HPV 检测所采用的技术平台及其产品至少要包含世 界卫生组织明确确认的 14 种高危型别,包括: HPV16、18、 31、33、35、39、45、51、52、56、58、59、66、68 等亚型。 原则上每 5 年筛查一次。


一、工作目标

(一) 总目标。坚持预防为主、防治结合、综合施策, 以农村妇女、城镇低保妇女为重点,为适龄妇女提供宫颈癌 筛查服务,促进宫颈癌早诊早治,提高妇女健康水平。


(二) 具体目标。

到 2025 年底,实现以下目标:

1.逐步提高宫颈癌筛查覆盖率,适龄妇女宫颈癌筛查率 达到 50%以上。

2.普及宫颈癌防治知识,提高妇女宫颈癌防治意识。适 龄妇女宫颈癌防治核心知识知晓率达到 80%以上。

3.创新宫颈癌筛查模式,提高筛查质量和效率,宫颈癌 筛查早诊率达到 90%以上。

绩效考核指标及其计算方法见附件 1。


二、服务对象

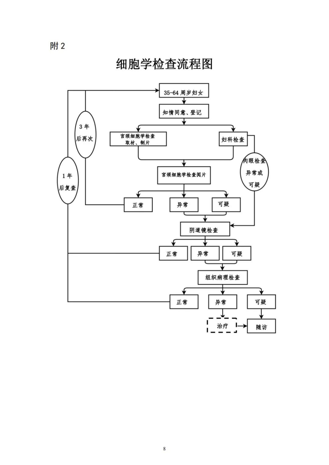
35-64 周岁妇女,优先保障农村妇女、城镇低保妇女。


三、工作内容

(一) 宫颈癌筛查。

各地应当对辖区内适龄妇女进行摸底调查,结合实际制定年度筛查计划。积极动员目标人群到相关医疗机构接受宫颈癌筛查。

1.妇科检查。包括询问病史、外阴及阴道检查、盆腔检 查及阴道分泌物检查。

2.宫颈癌初筛。可采用以下方法:
(1) 宫颈细胞学检查。包括取材、制片及阅片,采用 子宫颈/阴道细胞学 TBS(The Bethesda System) 报告系统 对宫颈细胞进行评价。原则上每 3 年筛查一次。

(2) 高危型 HPV 检测。包括取材、保存、实验室检测 及报告。HPV 检测所采用的技术平台及其产品至少要包含世 界卫生组织明确确认的 14 种高危型别,包括: HPV16、18、 31、33、35、39、45、51、52、56、58、59、66、68 等亚型。 原则上每 5 年筛查一次。

3.阴道镜检查。对宫颈细胞学检查初筛结果异常或可疑 者、HPV 高危分型检测结果为 16/18 型阳性者、其他高危型 阳性且细胞学结果异常或可疑者以及肉眼检查异常者进行 阴道镜检查。

4.组织病理学检查。对阴道镜检查结果异常或可疑者进 行组织病理学检查。

(二) 异常或可疑病例随访管理。
宫颈癌筛查异常或可疑病例主要包括宫颈细胞学检查 TBS 报告结果为未明确意义的不典型鳞状上皮细胞(以下简 ASC-US) 及以上者、高危型 HPV 检测结果阳性者、肉眼检 查异常或可疑者,阴道镜检查异常或可疑者以及组织病理学 检查结果为宫颈高级别病变及以上者。对宫颈癌筛查异常或 可疑病例进行追踪随访,督促其尽早接受进一步诊断及治 疗,并及时记录病例相关情况。

(三) 社会宣传和健康教育。
充分利用电视、网络等媒体,广泛开展妇女宫颈癌防治 相关政策和核心信息的宣传教育,形成全社会关心支持宫颈癌防治的良好氛围。充分发挥基层医疗机构和妇联等部门宣 传教育、组织发动及追踪随访的作用,深入开展社会宣传和 健康教育,增强妇女是自身健康第一责任人意识。科学指导 广大妇女开展自我健康管理,组织动员适龄妇女接受宫颈癌 筛查,指导宫颈癌高风险人群主动到医疗机构接受筛查。

(四) 组织实施。
及时掌握辖区 35-64 周岁适龄妇女人数,有计划、有组 织地安排其定期接受筛查。遴选具有筛查设施设备和专业技 术人员的医疗机构承担宫颈癌筛查工作。加强组织管理,优 化服务模式,方便妇女接受筛查服务,不断提高筛查效率和 质量。

四、保障措施
(一) 服务能力建设。
各地要进一步健全宫颈癌综合防治网络,完善工作规范 和服务流程,加强区域间、机构间转诊和协作。鼓励建立多种形式的宫颈癌防治联合体。提高各级特别是县级医疗机构 在宫颈癌防治宣传教育、咨询指导、筛查及治疗等方面的能 力。健全宫颈癌筛查专家队伍,加强对管理和专业技术人员的培训。积极运用互联网、人工智能等技术,提高基层宫颈癌防治能力。

(二) 质量控制。
各级卫生健康行政部门要制定宫颈癌筛查质量控制方 案及年度工作计划。定期对参与宫颈癌筛查工作的医疗机构 及外送检测机构开展全流程质量控制,及时反馈质控结果, 指导改进服务质量。相关机构要完善自我检查和整改机制, 定期开展自查,保证服务质量。宫颈癌筛查质量控制具体要 求详见《宫颈癌筛查质量评估手册》。

(三) 经费保障与管理。
各地要落实主体责任,推动将宫颈癌筛查纳入政府民生 工程,统筹协调多方资源,加强经费保障,不断扩大宫颈癌 筛查覆盖面,合理提高筛查经费补助标准,积极推动宫颈癌 筛查、宣传动员、随访管理、人员培训等各项工作。强化资 金监管,规范经费使用,保障宫颈癌筛查工作顺利实施。

(四) 信息管理。
妥善保存宫颈癌筛查原始资料,推动建立个案信息管理 系统,避免重复筛查。收集多种来源的宫颈癌筛查和治疗信 息数据,实现信息数据的互联共享。应有专人负责信息管理 工作,及时收集、汇总、整理、报送相关数据信息。宫颈癌

筛查信息管理具体要求详见《两癌筛查信息管理手册》。

(五) 考核评估。
各级卫生健康行政部门定期开展考核评估,确保宫颈癌 筛查工作落实。考核内容包括: 具体目标完成情况、组织管 理、筛查流程及服务质量、异常病例随访管理、质量控制、 信息上报等。考核评估对象包括: 宫颈癌筛查技术指导部门、 初筛机构、转诊机构(含外送检测机构) 等。

五、职责分工
(一) 卫生健康行政部门。国家卫生健康委妇幼司负责 全国宫颈癌筛查工作的组织管理,制发工作方案和筛查质量 评估手册。省级、地市级卫生健康行政部门负责本辖区宫颈 癌筛查工作的组织、实施和监督管理,完善工作机制,开展 质量控制。县级卫生健康行政部门负责辖区内宫颈癌筛查工 作的具体组织实施,明确初筛机构和转诊机构,开展质量控 制。各级卫生健康行政部门成立宫颈癌筛查专家组,组织开 展业务指导、人员培训、健康教育、质量控制和评估等工作。

(二) 承担宫颈癌筛查技术指导工作的妇幼保健机构。 受卫生健康行政部门委托,对辖区宫颈癌筛查工作进行业务 管理和技术指导。掌握辖区妇女宫颈癌防治服务现状; 为辖 区宫颈癌初筛机构、转诊机构提供技术指导; 开展宫颈癌筛 查服务相关业务培训; 对辖区宫颈癌筛查相关信息进行收 集、汇总及分析上报; 配合卫生健康行政部门开展宫颈癌筛 查质控工作; 推广宫颈癌防治适宜技术等。

(三) 医疗机构。
承担宫颈癌筛查服务的医疗机构应当配备与开展筛查 服务相适应的场所、设施、设备和专业技术人员,建立健全 内部管理制度,明确筛查服务流程,不断提高筛查质量和效率。

1.初筛机构。主要负责采集病史、妇科检查、初筛取材等,针对筛查结果异常或可疑的妇女督促其接受进一步检查 和治疗,做好追踪随访,并将相关信息及时上报。在转诊时 应当提供转诊对象的基本信息及相关检查资料,填写转诊单。初筛机构获得转诊机构反馈的结果后,应当在 5 个工作 日内通知异常或可疑病例进一步检查或治疗。

2.转诊机构。负责接收初筛机构转诊的标本及异常或可 疑病例,提供宫颈细胞学阅片、HPV 检测、阴道镜检查及组 织病理学检查等相关服务。转诊机构应当在出结果后 5 个工 作日内反馈初筛机构。

附件


声明:
1、凡本网注明“来源:小桔灯网”的所有作品,均为本网合法拥有版权或有权使用的作品,转载需联系授权。
2、凡本网注明“来源:XXX(非小桔灯网)”的作品,均转载自其它媒体,转载目的在于传递更多信息,并不代表本网赞同其观点和对其真实性负责。其版权归原作者所有,如有侵权请联系删除。
3、所有再转载者需自行获得原作者授权并注明来源。

最新评论

关闭

官方推荐 上一条 /3 下一条

客服中心 搜索 洽谈合作
返回顶部