立即注册找回密码

QQ登录

只需一步,快速开始

微信登录

微信扫一扫,快速登录

搜索
小桔灯网 门户 资讯中心 感染诊疗 查看内容

甲流相关检测试剂盒,突然火了

2023-3-1 14:25| 编辑: 沙糖桔| 查看: 4706| 评论: 0|来源: 中国基金报、人民日报健康、财经网

摘要: 当前北京市流行的流感病毒中,甲型流感病毒占绝对优势


近七日以来,“甲流”的搜索及报道量呈显著上升趋势,仅2月24日,就有69417的搜索量。甲流相关检测突然火了...


超450人死亡!这一病毒持续大规模传播



柬埔寨政府部门2月24日证实,几天前死于感染高致病性禽流感病毒H5N1的女孩的父亲确诊感染同种病毒。世界卫生组织官员当天表示,尽管目前H5N1病毒“人传人”风险仍然较低,但这一病毒持续大规模传播令人担忧

上述11岁女孩本月16日出现发烧、咳嗽、咽痛等症状,22日确诊感染H5N1病毒并于当天死亡。柬埔寨政府部门随后收集女孩的12名密接人员样本,24日确认她的父亲感染H5N1病毒。

世卫组织流行病防范部门负责人西尔薇·白里安说,目前暂时无法确定上述两起病例究竟是因为出现人际传播还是两人都曾暴露于含有H5N1病毒的环境。

白里安说,世卫组织仍然认为H5N1病毒传人风险较低。这一组织正在重新审视相关数据,以确定是否需要更新风险评估

白里安说:“考虑到H5N1在全球鸟类中传播范围之广,加上包括人类在内的哺乳动物感染病例增加,全球H5N1禽流感疫情形势令人担忧。”

2021年年底以来,全球多地暴发有记录以来最大规模禽流感,数以亿计家禽遭到扑杀。世卫组织数据显示,过去20年间,全球共报告接近900例人感染H5N1病例,其中死亡病例超过450例

即将就任世卫组织首席科学家的杰里米·法勒上周早些时候呼吁各国政府投资研发H5N1疫苗。按世卫组织说法,目前有接近20款针对H5禽流感病毒的疫苗获批,但要想使其对H5N1病毒有效,可能需要5、6个月来升级更新。


甲流刷屏上热搜




2月22日,北京市疾控中心发布消息,目前季节性流感疫情活动强度呈现上升趋势,当前北京市流行的流感病毒中,甲型流感病毒占绝对优势,其中甲型H1N1亚型占64%,甲型H3N2占35%,乙型流感占1%。

根据《流行性感冒诊疗方案(2020年版)》,流感起病急,虽然大多为自限性,但部分患者因出现肺炎等并发症或基础疾病加重发展成重症病例,少数病例病情进展快,可因急性呼吸窘迫综合征(ARDS)、急性坏死性脑病或多器官功能不全等并发症而死亡。

近七日以来,“甲流”的搜索及报道量呈显著上升趋势,仅2月24日,就有69417的搜索量。



甲流相关检测产品




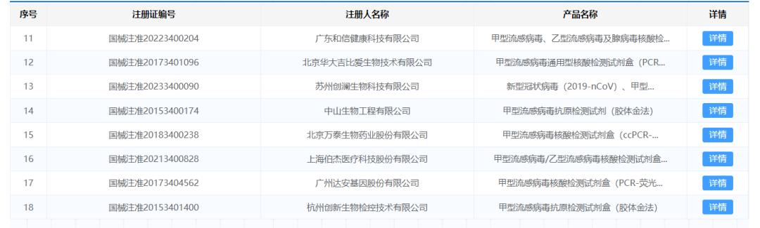
目前,国内获批的甲流检测试剂盒产品近30款,主要有核酸和抗原两种检测方式。生产企业包括万孚生物、安图生物、圣湘生物、达安基因、仁度生物、迈克生物、万泰生物等。

国家药监局批准的甲流检测试剂部分展示

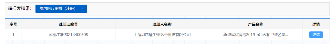
而在新冠与流感的双重风险下,集合新型冠状病毒、甲型流感病毒及乙型流感病毒“三合一”的三联检测试剂盒受到了更多关注。

目前,国内已经获批上市的三联检测产品主要有思路迪诊断、圣湘生物、苏州创澜生物,均为核酸检测的方法。上述三家企业的三联检测试剂盒分别于2021年8月、2021年12月、2023年1月先后获得国家药监局批准上市。

虽然流感每一年习以为常,但威胁仍不容小觑。因时兴菌株、防治情况等不一样,流感病毒感染发病、死亡率也截然不同。高峰年,依据中疾控2019年公布的数据,2010年至2014年,中国平均每年有8.8万例流感有关呼吸道疾病超额死亡。

声明:
1、凡本网注明“来源:小桔灯网”的所有作品,均为本网合法拥有版权或有权使用的作品,转载需联系授权。
2、凡本网注明“来源:XXX(非小桔灯网)”的作品,均转载自其它媒体,转载目的在于传递更多信息,并不代表本网赞同其观点和对其真实性负责。其版权归原作者所有,如有侵权请联系删除。
3、所有再转载者需自行获得原作者授权并注明来源。

最新评论

关闭

官方推荐 上一条 /3 下一条

客服中心 搜索 洽谈合作
返回顶部