反客为主?天隆科技总经理出任科华生物总裁
2023-4-4 14:55|
编辑: 沙糖桔|
查看: 2217|
评论: 0|来源: 科华公告、爱企查、严选IVD原料
摘要: 也就意味着李明可同时决策天隆科技和科华生物两家公司
| *ST科华4月3日晚间发布公告称,公司审议通过了《关于变更公司总裁的议案》、《关于聘任公司高级副总裁的议案》、《关于聘任公司证券事务代表的议案》,董事会同意聘任李明先生为公司总裁、聘任CHEN CHAO女士为公司高级副总裁、聘任陈兴龙先生为公司证券事务代表,任期均自董事会审议通过之日起至第八届董事会届满之日止。 
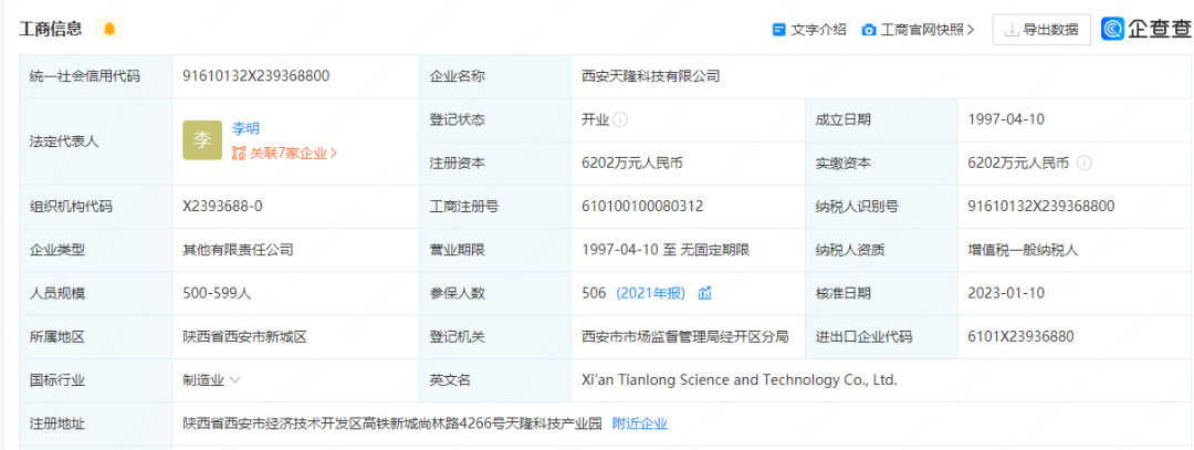
据企查查数据显示,李明为天隆科技法人代表、持股西安天隆9.88%的股份,此次李明出任科华生物总裁,也就意味着李明可同时决策天隆科技和科华生物两家公司!


 李明先生,1976 年出生,中国国籍,博士。李明先生在西安天隆科技有限公司任职近二十年,长期专注分子诊断核酸扩增检测相关领域的研制与生产、项目管理、销售管理和企业管理工作,拥有丰富的 IVD 从业经验,曾参与“十一五”国家重大 863 项目、国家重大科学仪器设备开发专项等多项国家/省市重大科技项目,并取得多项专利,曾任公司副总裁。截至本报告披露日,李明先生未持有本公司股份,与持有本公司 5%以上股份的股东、公司董事、监事、其他高级管理人员之间不存在关联关系,不存在《中华人民共和国公司法》规定的不得担任公司高级管理人员的情形,不存在《深圳证券交易所上市公司自律监管指引第 1 号——主板上市公司规范运作》规定的不得被提名担任上市公司高级管理人员的情形。最近三年未受到中国证监会及其他有关部门的处罚和证券交易所惩戒,亦不属于失信被执行人。CHEN CHAO 女士,1977 年出生,新加坡国籍,中欧国际工商学院高级工商管理硕士,国际会计师(ACCA)、新加坡注册会计师(CPA),曾分别担任美国纳斯达克上市公司、日本东京证券交易所上市公司执行董事、董事、财务总监等职务,拥有二十多年药品研发、石油、机械制造业、金融等行业跨国公司经营管理、财务、内控审计、战略投资及企业兼并购经验,曾任公司总裁,现任公司董事。截至本公告披露日,CHEN CHAO 女士未持有本公司股份,与持有本公司 5%以上股份的股东、公司董事、监事、其他高级管理人员之间不存在关联关系,不存在《中华人民共和国公司法》规定的不得担任公司高级管理人员的情形,不存在《深圳证券交易所上市公司自律监管指引第 1 号——主板上市公司规范运作》规定的不得被提名担任上市公司高级管理人员的情形,最近三年未受到中国证监会及其他有关部门的处罚和证券交易所惩戒,亦不属于失信被执行人。陈兴龙先生,1992 年出生,中国国籍,本科学历。曾任深圳市兆新能源股份有限公司投资主管、证券事务代表,浙江星星科技股份有限公司投资副总监,深圳市赛元微电子股份有限公司董事会秘书,自 2022 年 12 月任职公司董事会办公室。
|
声明:
1、凡本网注明“来源:小桔灯网”的所有作品,均为本网合法拥有版权或有权使用的作品,转载需联系授权。
2、凡本网注明“来源:XXX(非小桔灯网)”的作品,均转载自其它媒体,转载目的在于传递更多信息,并不代表本网赞同其观点和对其真实性负责。其版权归原作者所有,如有侵权请联系删除。
3、所有再转载者需自行获得原作者授权并注明来源。