立即注册找回密码

QQ登录

只需一步,快速开始

微信登录

微信扫一扫,快速登录

搜索
小桔灯网 门户 资讯中心 企业动态 查看内容

2000万,圣湘成立新子公司

2024-12-18 11:48| 编辑: 鹏哥| 查看: 1472| 评论: 0|来源: 企查查

摘要: 该子公司可能是一家以生产为主的运营公司。
12月17日,据企查查数据显示,圣湘生物成立圣湘(宁乡)生物科技有限公司,认缴出资额2000万。

图片

从注册信息来看,企业注册地址位于湖南省长沙市宁乡市夏铎铺镇天马新村13组(天马新村村民委员会二楼),所属行业为专用设备制造业,许可经营项目为:第二类医疗器械生产;第三类医疗器械生产;第三类医疗器械经营;医疗服务;消毒器械销售。由此可见,该子公司可能是一家以生产为主的运营公司。

图片

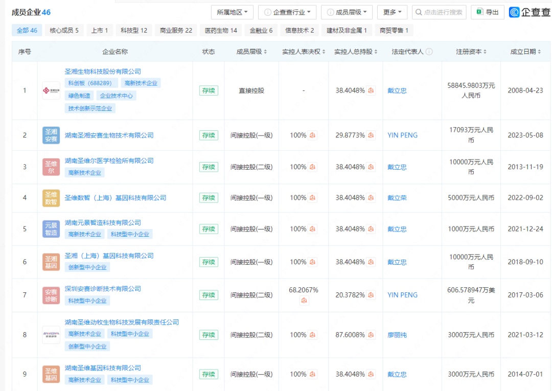
据企查查数据显示,目前圣湘生物成员企业达到了46家,从数量上来看已经与国内一线IVD企业的成员数量相近,从整体覆盖面上来看,圣湘成员企业所涉及的领域主要还是以分子诊断为主。

图片

声明:
1、凡本网注明“来源:小桔灯网”的所有作品,均为本网合法拥有版权或有权使用的作品,转载需联系授权。
2、凡本网注明“来源:XXX(非小桔灯网)”的作品,均转载自其它媒体,转载目的在于传递更多信息,并不代表本网赞同其观点和对其真实性负责。其版权归原作者所有,如有侵权请联系删除。
3、所有再转载者需自行获得原作者授权并注明来源。

最新评论

关闭

官方推荐 上一条 /3 下一条

客服中心 搜索 洽谈合作
返回顶部