立即注册找回密码

QQ登录

只需一步,快速开始

微信登录

微信扫一扫,快速登录

搜索
小桔灯网 门户 资讯中心 注册认证 查看内容

中国miRNA检测试剂盒获证(III类)企业梳理(截至26年1月)

2026-2-3 10:35| 编辑: 沙糖桔| 查看: 1282| 评论: 0|来源: 令狐冲说PCR

摘要: 关注小桔灯网!

miRNA作为一类长度约18-25nt的非编码RNA,已成为精准诊断的理想分子标志物。miRNA的诊断价值集中体现为“无创性、高灵敏度、高特异性”,可覆盖肿瘤、感染性疾病、神经退行性疾病等多领域,弥补传统诊断手段的短板,实现疾病的早期识别与精准确诊。

miRNA在诊断与分型中的临床应用,依赖于精准的检测技目前主流技术包括荧光RT-PCR、数字PCR。其中荧光RT-PCR技术成熟、成本可控,广泛应用于临床常规检测(如晋百慧、命码生物的获证试剂盒)。数字PCR技术灵敏度更高,适用于低丰度miRNA检测(小海龟、新弈等企业)

本文梳理了截至26年1月,在中国已获NMPA医疗器械注册证的miRNA试剂盒开发企业情况(类为主)。

企业名称

产品名称

注册证号

获批时间

核心用途

技术路线

顿慧医疗(原上海骏实生物)

7种微小核糖核酸检测试剂盒(PCR荧光探针法)

国械注准20173403299

2022-02-09

肝细胞癌早诊与疗效监测

荧光RT-PCR

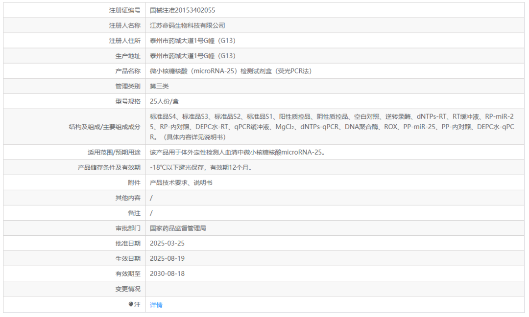
江苏命码生物

微小核糖核酸(microRNA - 25)检测试剂盒(荧光PCR法)

国械注准20153402055

2025-03-25

胰腺癌辅助诊断

荧光RT-PCR

深圳市晋百慧生物

miR - 92a检测试剂盒(荧光RT - PCR法)

国械注准20183400108

2022-08-03

结直肠癌筛查

荧光RT-PCR

康德(深圳)生物

4种微小核糖核酸检测试剂盒(PCR荧光探针法)

国械注准20253401406

2025-07-17

疑似胰腺癌患者辅助诊断

荧光RT-PCR

觅瑞(杭州)生物

12种微小核糖核酸(microRNA)检测试剂盒(荧光RT-PCR法)

国械注准20253401959

2025-11-12

胃癌早筛(国内首个)

核荧光RT-PCR


01

骏实生物科技(上海)有限公司


02

江苏命码生物科技有限公司


03

深圳市晋百慧生物有限公司


04

康德(深圳)生物技术有限公司


05

杭州觅因生物科技有限公司


正在开发miRNA检测试剂盒的企业(部分)

企业名称

在研产品

技术路线

核心应用

青岛瑞思德医学检验实验室

肝癌miRNA检测试剂盒

荧光RT-PCR

肝癌早诊

南京优智源医药

胃癌血清miRNA诊断试剂盒

荧光RT-PCR

胃癌无创检测

北京热景生物

胰腺癌/肝癌/胃癌外囊泡miRNA试剂盒

荧光RT-PCR

多癌种早筛

上海米然生物

节清乐®(肺癌miRNA试剂盒)

自主mir-SimPlex®

肺结节良恶性甄别


声明:
1、凡本网注明“来源:小桔灯网”的所有作品,均为本网合法拥有版权或有权使用的作品,转载需联系授权。
2、凡本网注明“来源:XXX(非小桔灯网)”的作品,均转载自其它媒体,转载目的在于传递更多信息,并不代表本网赞同其观点和对其真实性负责。其版权归原作者所有,如有侵权请联系删除。
3、所有再转载者需自行获得原作者授权并注明来源。

最新评论

关闭

官方推荐 上一条 /3 下一条

客服中心 搜索 洽谈合作
返回顶部