立即注册找回密码

QQ登录

只需一步,快速开始

微信登录

微信扫一扫,快速登录

搜索
小桔灯网 门户 资讯中心 精准医疗 查看内容

NTRK:小基因大未来!

2021-11-5 14:08| 编辑: 沙糖桔| 查看: 6207| 评论: 0|来源: 基因Talks

摘要: 癌症靶向治疗的推进已经证实基因融合可作为一种基因突变的靶向类别,靶向治疗的生存率远远高于标准化疗。NTRK基因融合就是这样一种可靶向的基因变异。NTRK:SMALL GENE BIG FUTURE!NTRK怎么读呢?文章中告诉你!NTR ...


癌症靶向治疗的推进已经证实基因融合作为一种基因突变的靶向类别,靶向治疗的生存率远远高于标准化疗。NTRK基因融合就是这样一种可靶向的基因变异。

NTRK:SMALL GENE BIG FUTURE!NTRK怎么读呢?文章中告诉你!

NTRK融合基因是肿瘤的驱动基因之一,也是迄今为止FDA批准的唯一一个泛实体瘤靶向药物(larotrectinib,拉罗替尼 及 Entrectinib,恩曲替尼)靶点。


神经营养因子酪氨酸受体激酶(NTRK)基因1/2/3分别编码原肌球蛋白受体激酶(TRK)A/B/C,TRK受体蛋白通常在人类神经组织中表达,并被神经营养因子(如NT-3/4等)激活。如果染色体内或染色体间发生重排导至NTRK基因家族与其他基因发生融合,便会致使TRK蛋白的结构性激活,过度激活将会导至肿瘤的发生。


▲ TRK融合是主要的致癌驱动因素


NTRK基因融合的历史可以追溯到1982年,当时NTRK1基因融合首次在结肠癌中被发现最初鉴定为OncD1 近年来,NTRK基因融合已经在多个成人和儿童的实体瘤中被发现,历经36年,美国FDA批准了拉罗替尼和恩曲替尼用于治疗携带这种致癌基因融合的泛实体瘤,ORR能达到57~75%。2,3 至此我们可以说,NTRK基因融合是一类新的临床可靶向的泛实体瘤致癌基因。


▲ NTRK在癌症中的发展历史




SMALL GENE



小基因。


没错,NTRK基因融合是泛实体瘤中罕见的致癌驱动因素。


2021年7月20日,《NPJ Precis Oncol》在线发表了迄今为止分析NTRK融合阳性癌症的最大队列,该研究调查了来自 FoundationCORE 数据库的超过 295,000 例癌症病例的NTRK融合阳性癌症的患病率,整体NTRK基因融合阳性患病率为 0.30%n=899);在所有病例中,成年患者(≥18岁)和儿科患者(<18岁)的NTRK阳性患病率分别为 0.28%和 1.34%;发病率随着年龄的降低而增加,5岁以下儿童的发病率最高,为 2.28%4


▲ NTRK基因融合整体发生率及成人和儿科肿瘤发病率,以及不同年龄组NTRK融合阳性肿瘤的患病率


在成人肿瘤中(≥18岁),唾液腺癌2.43%,35/1440)、软组织肉瘤1.27%,79/6216)和甲状腺癌1.25%,29/2314)的NTRK基因融合患病率最高。


▲ 成人肿瘤NTRK基因融合患病率排行


在儿科肿瘤中(<18岁),孤立性纤维瘤50%,1/2)、唾液腺癌37.5%,3/8)、乳腺肿瘤25%,1/4)和甲状腺肿瘤20%,9/45)的NTRK基因融合患病率最高,尽管总数看起来很低,但这主要是因为这些肿瘤在儿科肿瘤中很少见。


▲ 儿科肿瘤NTRK基因融合患病率排行


如果进一步对NTRK基因融合阳性肿瘤的癌症类型患病率进行分析,那么,在成人肿瘤中最常见的癌症类型是非小细胞肺癌16.4%,136),乳腺癌14.1%,117),软组织肉瘤9.6%,79)和结直肠癌9.3%,77);在儿科肿瘤中最常见的癌症类型是软组织肉瘤42.4%,25),神经胶质瘤20.3%,12)和甲状腺肿瘤15.3%,9)。


▲ 所有NTRK融合阳性肿瘤的癌症类型患病率分析


此外,研究者也进行了实体肿瘤中预测祖先的NTRK基因融合患病率,结果发现亚洲(东亚和南亚)血统患者中的NTRK基因融合患病率(0.40%)略高于中/南美洲(0.37%)、非洲(0.34%)或欧洲(0.28%)血统的患者。


▲ 亚洲NTRK基因融合患病率略高于其他地域


这一预测性的亚洲NTRK基因融合患病率与国内至本医疗于2018年ESMO会议上首次报道的中国人群实体瘤中NTRK基因融合患病率惊人的一致,均为 0.40%由此可见至本医疗大数据的真实性和完整性。


▲ 至本医疗公布中国首个泛实体瘤NTRK基因融合患病率0.4%




BIG FUTURE



大未来。


没错,TRK抑制剂是泛实体瘤靶向药物,NTRK基因融合(及耐药)检测必不可少。


NTRK基因融合是全球首个也是目前唯一一个泛实体瘤靶向药物作用靶点,FDA已于2018年11月和2019年8月分别批准拉罗替尼和恩曲替尼上市,用于治疗携带NTRK基因融合且无已知获得性耐药突变的泛实体瘤患者。这也意味着所有的实体肿瘤患者均需进行NTRK基因融合(及耐药)的检测(F1CDx为伴随诊断),NTRK融合阳性患者即可使用TRK抑制剂进行治疗。


▲ 拉罗替尼和恩曲替尼的药物说明书部分


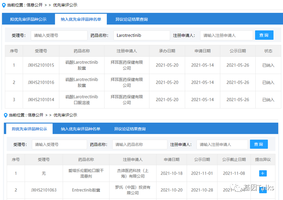
在中国,截至目前还没有泛实体瘤的TRK抑制剂获批上市,不过NMPA已分别于2021年5月26日和10月28日将拜耳的拉罗替尼和罗氏的恩曲替尼上市申请()纳入优先审评,中国将很快迎来首款泛实体瘤靶向药物。


▲ 拉罗替尼和恩曲替尼国内上市优先审评

中国NTRK临床研究申报现状:
NTRK抑制剂的研发企业包括跨国药企如拜耳、罗氏、礼来以及第一三共等,同时诺诚健华、先声药业、绿叶、贝达、正大天晴等中国企业也已纷纷布局该赛道。目前在中国进行中的NTRK药物临床研究共有近40项,其中国际多中心临床研究有近10项,已有多项进入临床Ⅲ期。

靶向治疗的安全性和有效性离不开伴随诊断。NMPA已于2021年3月9日授予至本医疗联合拜耳合作开发的“人类NTRK1/2/3基因变异检测试剂盒(可逆末端终止测序法”的创新医疗器械特别审查,加速其作为拉罗替尼的伴随诊断,中国将很快迎来首款泛实体瘤靶向药物的伴随诊断试剂盒。(据悉,F1CDx因在国内市场做的并不好,年底或将解除与DIAN的合作退出中国市场,具体以官网新闻为准


▲ 至本医疗NTRK检测试剂盒上市创新特别审查


NTRK基因融合是高度混杂的,到目前为止,已经发现了80多种不同的5' 融合伴侣(大多数重排之前没有报道),包括ETV6,TPM3,TPR,EML4等。由于NTRK融合的罕见性,涵盖已知和未知融合事件以识别有资格接受TRK抑制剂治疗的患者则非常重要(需要高质量的诊断方法来确保识别新的融合伴侣),由于与IHC相比,NGS能够检测未知融合并产生更低的假阴性和假阳性结果,因此NGS检测(DNA+RNA)已成为识别NTRK融合的最优方法(还可识别TRK抑制剂的耐药突变):ESMO指南建议前线测序或通过IHC筛查后对阳性病例进行测序。7


▲ NTRK1的伴侣基因主要存在于1号染色体上,表明染色体内重排是NTRK1融合的主要驱动因素,而NTRK2和NTRK3的伴侣基因通常通过染色体间重排发生


最后,我们来总结下,到底哪些人才需要做NTRK基因融合的检测:


1)在大多数情况下,致癌基因突变是互斥的,首先需要排除最常见的致癌基因突变,当所有实体瘤不存在其他驱动癌基因突变时,都建议进行NTRK基因融合检测


2)NTRK基因融合检测取决于肿瘤类型,常见高频NTRK融合的肿瘤(儿童肿瘤及罕见肿瘤等)建议优先进行NTRK基因融合检测


3)如果传统治疗方法能够治愈的患者,不太可能需要做NTRK基因融合检测,但是如果传统治疗方法的毒性太强或不可避免的情况下,建议进行NTRK基因融合检测


4)认为适合系统治疗的患者,也建议进行NTRK基因融合检测不要等到最后一分钟才决定检测,因为NTRK的基因检测可能需要2周);


5)当没有有效的全身系统治疗方法时,也建议进行NTRK基因融合检测


6)虽然有理由在治疗后进展的患者中检测最新的样本,但NTRK基因融合可能从癌症开始就存在,而最初切除的肿瘤样本通常是足够的,所以在最初的肿瘤样本时,就可以进行NTRK基因融合检测


7)在使用拉罗替尼或恩曲替尼治疗后出现疾病进展的患者,应进行NTRK基因检测进而确定耐药突变如果有耐药突变,可尝试使用二代NTRK抑制剂LOXO-195;



NTRK,

SMALL GENE BIG FUTURE!


最后,NTRK应该怎么读呢?

它的发音应为“en-track/ɪn/ -/træk/

你读对了吗?



参考资料: 

1.Vaishnavi A, Le AT, Doebele RC. TRKing down an old oncogene in a new era of targeted therapy. Cancer Discov. 2015 Jan;5(1):25-34. doi: 10.1158/2159-8290.CD-14-0765. Epub 2014 Dec 19. PMID: 25527197; PMCID: PMC4293234.

2.https://www.fda.gov/drugs/fda-approves-larotrectinib-solid-tumors-ntrk-gene-fusions-0

3.https://www.fda.gov/drugs/resources-information-approved-drugs/fda-approves-entrectinib-ntrk-solid-tumors-and-ros-1-nsclc

4.Westphalen, C B et al. “Genomic context of NTRK1/2/3 fusion-positive tumours from a large real-world population.” NPJ precision oncology vol. 5,1 69. 20 Jul. 2021.

5.Q.Ling, B. L., M.Yao. The landscape of NTRK fusions in Chinese solid tumor patients. Ann Oncol 29, VIII22-VIII23, doi:10.1093/annonc/mdy269 (2018).

6.Penault-Llorca, F., Rudzinski, E. R. & Sepulveda, A. R. Testing algorithm for identification of patients with TRK fusion cancer. J. Clin. Pathol. 72, 460–467 (2019)

7.Marchio, C. et al. ESMO recommendations on the standard methods to detect NTRK fusions in daily practice and clinical research. Ann. Oncol. 30, 1417–1427 (2019)



声明:
1、凡本网注明“来源:小桔灯网”的所有作品,均为本网合法拥有版权或有权使用的作品,转载需联系授权。
2、凡本网注明“来源:XXX(非小桔灯网)”的作品,均转载自其它媒体,转载目的在于传递更多信息,并不代表本网赞同其观点和对其真实性负责。其版权归原作者所有,如有侵权请联系删除。
3、所有再转载者需自行获得原作者授权并注明来源。

最新评论

关闭

官方推荐 上一条 /3 下一条

客服中心 搜索 洽谈合作
返回顶部