立即注册找回密码

QQ登录

只需一步,快速开始

微信登录

微信扫一扫,快速登录

搜索
小桔灯网 门户 资讯中心 企业动态 查看内容

上市企业,注销了一家成立9年的IVD公司

2025-11-27 15:50| 编辑: 鹏哥| 查看: 1516| 评论: 0|来源: 医业观察

摘要: 该公司成立于2016年8月,由深圳市理邦精密仪器股份有限公司全资控股。

近日,天眼查信息显示:深圳理邦诊断科技有限公司(曾用名深圳理邦梅塞尔诊断有限公司)的动态消息。


这家成立于2016年8月的诊断企业,由深圳市理邦精密仪器股份有限公司全资控股,结束了近9年的经营历程,在2025年11月18日正式注销!


图片


经天眼查信息显示,该公司并非 一家“空壳主体”企业,该企业累计15个资质证书、17项行政许可及1项诊断医疗设备专利,业务覆盖全类医疗器械(含一、二、三类)、兽用器械、体外诊断试剂的研发、生产与进出口全链条。


15个资质证书:


图片


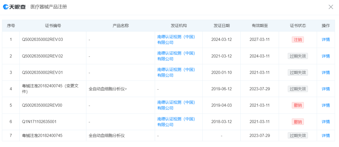
其中包含7项医疗器械产品注册:


图片

不过证书状态都是过期失效,或者撤销


17 项行政许可:


累计持有 13 个资质证书、及 1 项诊断医疗设备专利,业务覆盖全类医疗器械(含一、二、三类)、兽用器械、体外诊断试剂的研发、生产与进出口全链条。


图片

(行政许可部分截图)


从注册证核心资产,结合母公司业务布局可推测被注销的深圳理邦诊断其核心资质方向可能是想作为理邦仪器早期体外诊断业务的重要载体,其注册证大概率覆盖基础诊断试剂、常规检测设备等领域。


不过现在回想到,理邦仪器 2023 年获批的湿式血气电解质分析仪 i500(粤械注准 20232222161)并未登记在该子公司名下,而是由理邦仪器直接持有,那理邦诊断的存在确实比较尴尬,和母公司的定位重叠。

声明:
1、凡本网注明“来源:小桔灯网”的所有作品,均为本网合法拥有版权或有权使用的作品,转载需联系授权。
2、凡本网注明“来源:XXX(非小桔灯网)”的作品,均转载自其它媒体,转载目的在于传递更多信息,并不代表本网赞同其观点和对其真实性负责。其版权归原作者所有,如有侵权请联系删除。
3、所有再转载者需自行获得原作者授权并注明来源。

最新评论

关闭

官方推荐 上一条 /3 下一条

客服中心 搜索 洽谈合作
返回顶部